Бидэнд имэйл илгээнэ үү

sdepochwater@hotmail.com

Мэдээ мэдээлэл

Хаалганы хавхлагын шинж чанар, ангилал


Хаалганы хавхлага, мөн хаалганы хавтангийн хавхлаг гэж нэрлэдэг бөгөөд хаалганы хавхлага, хаалганы хавхлаг нь хаалганы хавтан юм.


Хаалганы хавхлагын шинж чанарууд


1) Хаалганы хавхлагын давуу тал: шингэний урсгалын эсэргүүцэл; Нээх, хаахад шаардагдах момент нь жижиг юм. Дунд зэргийн урсгалын чиглэл хязгаарлалтгүй. Нээх, хаах үед усан алх феноменон байдаггүй. Хэлбэр бүтэц нь харьцангуй энгийн бөгөөд үйлдвэрлэлийн үйл явц нь илүү дээр юм.


2) Хаалганы хавхлагын сул тал: Тэд харьцангуй том хэмжээтэй гадаад хэмжээс, суулгацийн өндөр, суулгацтай орон зайг шаарддаг. Нээлт, хаалтын явцад битүүмжилсэн гадаргуу дээр битүүмжлэх гадаргуу дээр харьцангуй үржлийн улмаас харьцангуй үр дүн байдаг. Өндөр температурт ч гэсэн. Энэ нь зураасанд өртөмтгий байдаг. Хаалганы хавхлаг нь ихэвчлэн хоёр битүүмжлэх гадаргуутай байдаг бөгөөд үүнийг боловсруулах, нунтаглах, засвар үйлчилгээ хийхэд хэцүү байдаг.


Хаалганы хавхлаг нь өргөн хүрээний програмтай байдаг. Энэ нь ихэвчлэн DN50 ба түүнээс дээш тооны диаметртэй усан хангамжийн дэвтэр дээр ашигладаг.



Хаалганы хавхлагыг ангилах


Хаалганы хавхлагыг холбосон хаалганы хавхлага, флан хавхлага, гагнасан хаалганы хавхлагыг холболтоор ангилж болно. Бүтцийн онцлог шинж чанарын дагуу тэдгээрийг параллель хаалганы хавтан, шаантаг хаалганы хавтан болгон хувааж болно. Хавхлагын ишний бүтцэд үндэслэн, тэдгээрийг тод ишний хавхлага, нуугдмал орчинд ангилах боломжтой.




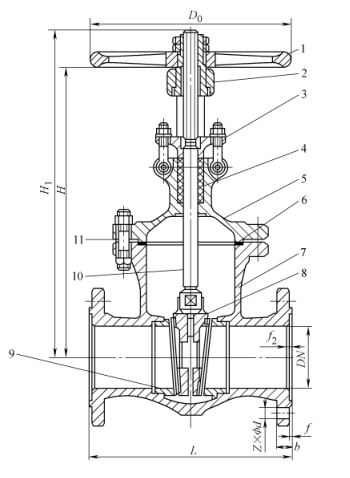
1) Нээлттэй ишний параллель давхар хаалгатай: Нээлттэй ишний хавхлага 1-р зурагт үзүүлэв. Түүний хаалга нь хоёр тэгш хэмтэй, параллель дискнээс бүрддэг. Хаалга буувал хаалганы ёроолд байрлуулсан дээд шаантаг нь хоёр хаалга үүсгэж, хавхлагын суудлыг нягталж, хавхлагын суудалд нягт, хавхлагын суудлыг нягт нямбай дараарай. Хаалга босоход дискнээс шаантаг салгах үед. Нэгэнт диск нь тодорхой өндрийг нэмэгдүүлсний дараа шаантаг диск дээрх протюруудыг дискэн дээр өргөж, хаалганы хамт босдог. Энэ хавхлага нь энгийн бүтэцтэй. Битүүмжилсэн гадаргууг боловсруулж нунтаглах, нунтаглах, засварлах нь шаантаг хаалганы хавхлагаас илүү хялбар байдаг. Гэсэн хэдий ч түүний битүүмжлэлийн гүйцэтгэл харьцангуй ядуу байна. Энэ нь 1.0MPA-аас хэтрэхгүй даралттай хэвлэл мэдээллийн хэрэгсэл, 200 ℃-ээс хэтрэхгүй температурт тохирно.



Зураг 1: Өсөн нэмэгдэж буй ишний параллель давхар хаалга хавхлага


1. Handwheel 2- Valve Stem Sute 3- хавхлагын SUTH 4 - Багцын булчирхай 4 - Багцын булчирхай 4 - Хавхлагын 6 - Хавхлагын бүрхэвч

7 - Жийргэвч 8 - Бөгжний бөгж 9- хавхлагын биеийг 10- Хавхлага 10- Хаалга 11 - ШИНЖИЛГЭЭ


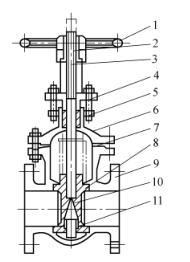
2) Хавтгайтгэсэн ишний хаалганы хавхлага: 2-р зурагт үзүүлсэн шиг энэ хавхлагын битүүмжилсэн, энэ хавхлагын битүүмжлэлийг битүүмжилсэн гадаргууг өнцгөөр илэрхийлж, өнцгөөр бүрхэгдсэн байдаг. Дунд зэргийн температур өндөр, том өнцөг. Шулаан хаалганы хавтанг нэг хаалга хавтан, 2А, B ба B-д харуулав. Шуугиантай хаалганы хавтанг боловсруулж, нунтаглах, засварлах нь параллель хаалганы хавтангаас илүү төвөгтэй байдаг боловч тэд илүү сайн битүүмжлэх чадвартай байдаг.


Зураг 2 нуугдмал ишний шаантаг хаалганы хавхлага


a) шаантаг ганц хаалгак B) шаантаг хоёр хаалгатай C) C) Wedge Elance хаалганы хавтан


1. Гар барих 2. Заагч 3. Хавтасны 3. Хавтасны 4. Хавсралт 5. Хавсралт 6. Хавхлагын хайрцаг

7- Хавхлагын иш 8 - Хавхлагын Stem Sute 9, 12 - Хавхлагын тэмдэг 10 - Хавхлагын 10 - Хавхлагын тэмдэг 11 - Хавхлагын өдөр 13 - Хаалганы хавтан 13 - Жийргэвч


3-р зурагт үзүүлсэн уян хатан хаалгыг харуулав. Энэ нь энгийн бүтэц, найдвартай, найдвартай деформаци үүсгэдэг бөгөөд энэ нь хаагдахад хүргэдэг жижиг уян деформаци үүсгэдэг.



Зураг 3 уян хатан хаалганы хавхлага


1. ХӨДӨЛМӨРИЙН ХӨДӨЛМӨР 2- Хавхлагын самар 3 - Багцын булчирхай 4 - Хавтангийн бүрхэвч 6 - Хавхлагын 6 - жийргэвч 6 - жийргэвч 6 - жийргэвч 6 - жийргэвч

7- хавхлагын 8 Хавтангийн 8 хаалга 9 - Чиглүүлж бөгж 10 - хавхлагын 10 - Хавхлага 11 - Болтыг холбож байна


Өсөн нэмэгдэж буй ишний хавхлагын хавхлага, хавхлагын ишний утас нь гараар тоноглогдсон ханцуйны самартай таарч байна. Хавхлагын ишний доод хэсэг нь хаалганы хавтан дээр суулгагдсан дөрвөлжин толгойтой. Хөдөлгүүрийг эргүүлэх үед хавхлагын иш, хаалганы хавтан дээш доошоо дээш доошоо хөдөлдөг. Нээх үед хавхлагын иш нь гараас гардаг. Давуу тал нь хавхлагын нээлтийн түвшинг хавхлагын ишний уртыг үнэлж болно. Хавхлага нь хавхлага нь томоохон нээлтийн өндөртэй бөгөөд суулгацын сайт нь хавхлагын бүсэд хангалттай зайтай байх ёстой. Сайт дээр суулгахдаа энэ талаар анхаарлаа хандуулах хэрэгтэй. Хавхлагын ишний ишний ишний гаднах ишлэл нь хавхлагад оруулсан дотоод утаснууд нь хавхлагад оруулсан дотоод утастай таарч байна. Тиймээс, гар нь халхавч эргэх үед хавхлагын иш нь дээш, доошоо хөдлөхөд хаалга эргэлдэж, доош нь хөдлөхөд хүргэдэг, гэхдээ хавхлагын иш нь дээш, доошоо чиглүүлж чадахгүй. Нуугдсан ишний хаалганы хавхлага суурилуулах явцад бага зай эзэлнэ. Дунд чиглэсэн орчин нь хавхлагын иштэй шууд холбоо тогтооход хүргэдэг бөгөөд хавхлагын нээлтийн түвшинг хавхлагын ишлэлээр шүүж болохгүй. Энэ нь өсч буй ишний хаалганы хавхлага эсвэл үл тоомсорлодоггүй ишний хавхлага, хаалганы хавхлагыг хэвтээ байдлаар суулгасан байх ёстой. Хавхлагын иш нь босоо чиглэлд босоо байрлалтай байх ёстой. Хавхлагын хэсгүүдийг доош нь суулгахыг хатуу хориглоно.



Холбоотой мэдээ
Надад мессеж үлдээгээрэй
X
Бид күүки ашиглан танд илүү сайн хайлтын туршлага санал болгож, сайтын урсгалд дүн шинжилгээ хийж, контентыг хувийн болгох. Энэ сайтыг ашигласнаар та күүки ашиглахыг зөвшөөрч байна. Нууцлалын бодлого
Татгалзах Зөвшөөрөх